Teplotu proudící kapaliny v potrubí měříme čidlem teploty se stonkem v nerezové jímce osazené do potrubí, k dispozici máme CFox modul C-IT-0100H-P, obj.č. TXN 133 16.0x (x – délka stonku) a k němu je nutné doobjednat příslušnou jímku TXP 300 1x (x- délka jímky). Modul je umístěn do plastové hlavice se svorkovnicí pro připojení sběrnice CIB, kovový měřicí stonek je z nerez oceli třídy DIN 1.4301, nerezová jímka je osazena závitem G1/2“. Standardní provedení modulu je určeno pro maximální teplotu 150ºC. Moduly se používají v běžném prostředí, kde nejsou vystaveny vlivu agresivních chemických látek.

Příklad zapojení je shodný s venkovním čidlem C-IT-0100H-P.
| Měřicí rozsah | -30 ÷ +150 ºC |
| Přesnost třída | B dle IEC 751 |
| Izolační odpor | > 100 MΩ při 25 ºC (500 V DC) |
| Stupeň krytí | IP 65 (ČSN EN 60529) |
| Relativní vlhkost | < 95 % |
| Teplota okolí | -25 ÷ +80 ºC |
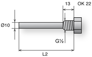
| Stonek | nerez, DIN 1.4301, Ø = 6 mm, délka jímky L2: viz tabulka |
| Hlavice | materiál polykarbonát, barva šedá
rozměry: 74x66x39 mm |
| Vývodka | PG9, průměr kabelu 4 ÷ 8 mm |
| Svorkovnice | Max. 1 mm2 vodiče na svorku |
| L2 (mm) | Obj. číslo | Obj. číslo |
| Modul C-IT-0100H-P | Jímka | |
| 100 | TXN 133 16.01 | TXP 300 11 |
| 160 | TXN 133 16.02 | TXP 300 12 |
| 220 | TXN 133 16.03 | TXP 300 13 |
| 280 | TXN 133 16.04 | TXP 300 14 |
| 340 | TXN 133 16.05 | TXP 300 15 |
návarek k jímce
Jímka, základní parametry:
| Délky: L2 (mm) | 100,160,220,280,340 |
| Závit | G½ a M20x1,5 |
| Materiál | DIN 1.4301 |
| Max. tlak | 4 MPa |

Mechanické rozměry jímky
Čeština