Snímač zaplavení je určen k signalizaci poruchových stavů ( např. úniku vody) v kotelnách, výměníkových stanicích a podobných zařízeních. Snímač j umístěn v plastovém pouzdru vhodném k přímé montáži na stěnu pomocí dvou vrutů. Snímač náleží do kategorie vodivostních typů snímačů. Při spojení elektrod umístěných v dolní části krabičky snímače vodivým médiem připojený modul vyhodnotí stav zaplavení ten je přenesen do řídicího systému. Vlastní snímač DS se připojuje k modulu s příslušným vstupem zaplavení, např. C-AM-0600I, nebo C-HM-0308M.

Parametry čidla zaplavení DS
| Teplota okolí | -30 až 60 °C |
| Krytí | IP54 |
| Připojení vodičů | Max. 1,5 mm2 |
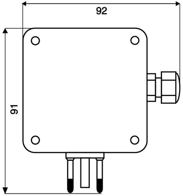
| Vnější rozměry krabičky snímače | 92 x 91 x 36 mm |


Obr. 1 Připojení čidla zaplavení DS k modulu C-AM-0600I
Poznámky:
-
Sondu připojujeme na vstup modulu dvoužilovým stíněným kabelem (doporučeno max. 15 m), průměr vodičů stačí 0,5 mm. Např. SYKFY 2x2x0,5. Na polaritě nezáleží.
Čeština